شرکت هواپیمائی بوئینگ ساخت هواپیمای بدون سرنشینی را آغاز کرده که تبدیل به زیردریایی می شود.

شرکت بوئینگ پتنت جدیدی را به ثبت رسانده که توجهات بسیاری را به خود جلب کرده است. در سال های اخیر، هواپیماهای بدون سرنشین بیش از پیش به بخش های مختلف زندگی انسان ها نفوذ کرده اند. هواپیماهای بدون سرنشین در اداره های پست، رستوران ها و ... مورد استفاده قرار گرفته اند.
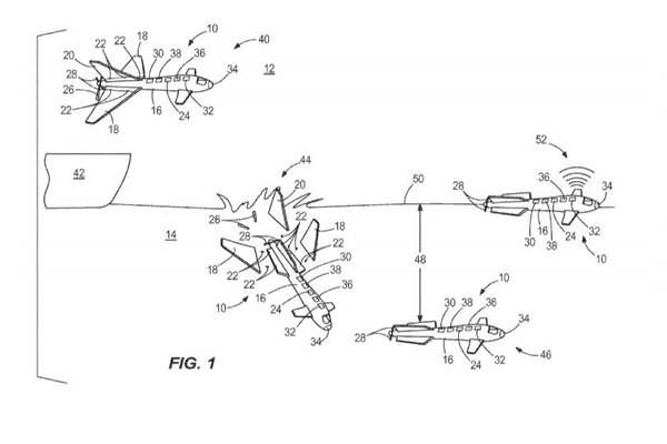
شرکت هواپیمائی بوئینگ از ساخت هواپیمای بدون سرنشینی خبر داده که نه تنها از راه دور می توان آن را کنترل کرد بلکه با یک شیرجه وارد آب شده و به یک زیردریایی مبدل می شود.
این هواپیمای بدون سرنشین به منظور کاهش وزن و همینطور برخورداری از ویژگی های هیدرودینامیکی در هنگام شیرجه و ورود به آب بخش های مختلفی از آن مانند ملخ و بال های هواپیما که با چسب و پیچ به آن متصل شده اند، جدا می شوند تا این هواپیمای بدون سرنشین تبدیل به زیردریایی شود که در آب حرکت می کند.

شرکت بوئینگ در رابطه با چگونگی ساخت این هواپیمای بدون سرنشین و همینطور نیروی محرکه لازم برای حرکت اختراع جدید خود آورده است : « قدرت لازم برای حرکت این پهپاد توسط یک موتور واحد تامین می شود اما هنوز جزئیات بیشتری در این رابطه منتشر نشده است. با استفاده از این زیردریایی می توان محموله های مختلف را به اعماق آب انتقال داد.»
هواپیماهای بدون سرنشین به دلیل کوچک بودن و همینطور بی سر و صدا بودن تبدیل به ابزارهای مناسبی در ماموریت های نظامی شده اند. اما زمانی که ماموریت این زیردریایی به پایان رسید به سطح آب آمده و اطلاعات به دست آورده در طول ماموریت را با یک هواپیمای بدون سرنشین دیگر یا به مرکز فرماندهی منتقل می کند.
شرکت هوایی بوئینگ طرح این اختراع را به ثبت رسانده و این فناوری در مراحل اولیه خود به سر برده و هنوز تبدیل به طرح مفهومی نیز نشده است.
منبع: مهر